Page 75 - JOJAPS_VOL15
P. 75
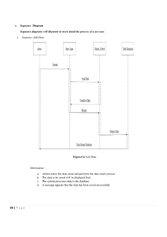
c. Sequence Diagram
Sequence diagrams will illustrate in more detail the process of a use case.
1. Sequence Add Data
Figure3.4 Add Data
Information :
a. Admin enters the data menu and performs the data insert process.
b. The data to be saved will be displayed first.
c. The system processes data to the database.
d. A message appears that the data has been saved successfully
69 | P a g e

