Page 38 - fix BUKU PANDUAN KKNbD Undiksha 2021 - (Revisi Penilaian)
P. 38

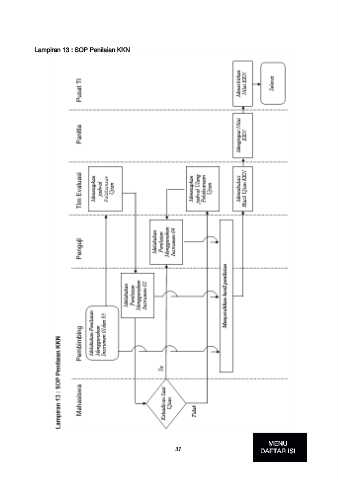
Lampiran 13 : SOP Penilaian KKN























































                                                              31
   33   34   35   36   37   38   39   40