Page 403 - Bài 1
P. 403

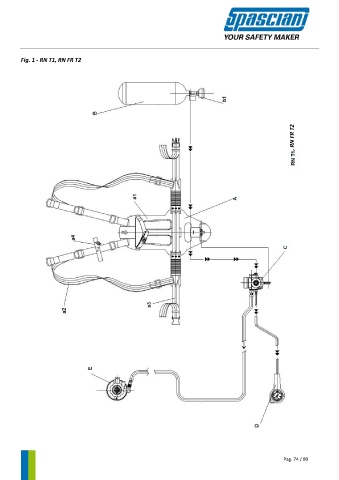
Fig. 1 - RN T1, RN FR T2













                                                                                                        , RN FR T2







































































                                                                                                     Pag. 74 / 80
   398   399   400   401   402   403   404   405   406   407   408