Page 1886 - Foton Workshop Manual - Sauvana
P. 1886
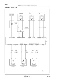
61-96 CIRCUIT - SYSTEM SCHEMATIC DIAGRAM
AIRBAG SYSTEM
Passenger airbag Driver seat belt pretighten
Driver airbag C50 D03
Ignition switch
ON or START
1 2 2 1 1 2
Interior fuse
F24 box C05
7.5A
3 4 D209
Clock spring C309
(Gas generator )
C18
1 2
YW- Br Br R- G Y Br Y- Br G-
5 10 11 18 19 13 14
Ignition power supply Driver airbag+ Driver airbag- Passenger Passenger Driver seat belt Driver seat belt
airbag + airbag- pretighten+ pretighten-
SRS ECU
C27
Passenger Passenger Passenger safety Passenger safety
Driver side airbag+ Driver side airbag- side airbag+ side airbag- belt pretighten + belt pretighten- Ground
4 3 1 2 17 16 6
Br W- Br L- GO- GY- GR- GB-
C308 C308 C309
4 3 D208 1 2 D208 2 1 D209
2 1 1 2 2 1
Driver side Passenger Passenger seat
airbag D70 airbag D71 belt pretightenD15
C28
Page 1886

