Page 182 - ACAD на базі НТУ ДП
P. 182

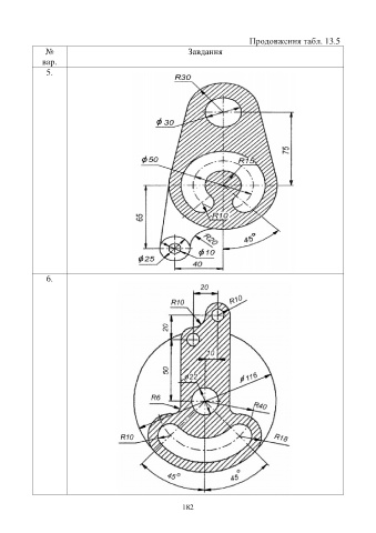
Продовження табл. 13.5
               №                                             Завдання
              вар.
                5.






































                6.











































                                                           182
   177   178   179   180   181   182   183   184   185   186   187