Page 485 - eProceeding_IRSTC2017andRESPeX2017
P. 485
Azit / JOJAPS – JOURNAL ONLINE JARINGAN COT POLIPD
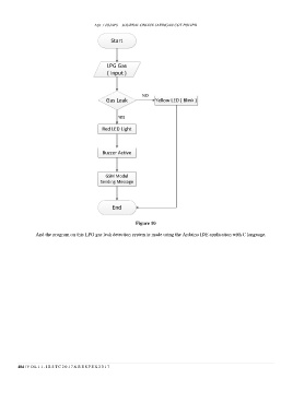
Start
LPG Gas
( Input )
NO
Gas Leak Yellow LED ( Blink )
YES
Red LED Light
Buzzer Active
GSM Modul
Sending Message
End
Figure 10
And the program on this LPG gas leak detection system is made using the Arduino IDE application with C language.
484 | V O L 1 1 - I R S T C 2 0 1 7 & R E S P E X 2 0 1 7

