Page 1774 - Foton Workshop Manual - Sauvana
P. 1774
56-72 INTERIOR/EXTERIOR TRIM - SUNROOF
SUNROOF
PARTS DRAWING
3 5
4
6 3
3
7
2
3
6
1
2
1
fuwx56085
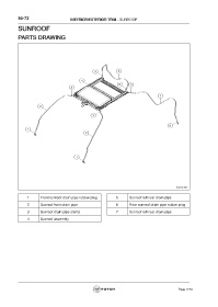
1 Front sunroof drain pipe rubber plug 5 Sunroof left rear drain pipe
2 Sunroof front drain pipe 6 Rear sunroof drain pipe rubber plug
3 Sunroof drain pipe clamp 7 Sunroof left rear drain pipe
4 Sunroof assembly
Page 1774

