Page 54 - PANDUAN KERJA PROJEK KSSM ASK_Spread 2
P. 54
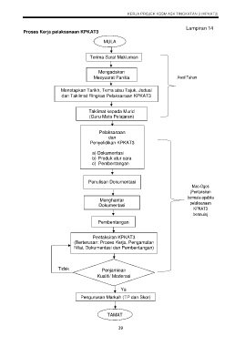
KERJA PROJEK KSSM ASK TINGKATAN 3 (KPKAT3)
Lampiran 14
Proses Kerja pelaksanaan KPKAT3
MULA
Terima Surat Makluman
Mengadakan
Mesyuarat Panitia Awal Tahun
Menetapkan Tarikh, Tema atau Tajuk, Jadual
dan Taklimat Ringkas Pelaksanaan KPKAT3
Taklimat kepada Murid
(Guru Mata Pelajaran)
Pelaksanaan
dan
Penyelidikan KPKAT3
a) Dokumentasi
b) Produk atur cara
c) Pembentangan
Penulisan Dokumentasi
Mac-Ogos
(Pentaksiran
Menghantar bermula apabila
Dokumentasi pelaksanaan
KPKAT3
bermula)
Pembentangan
Pentaksiran KPKAT3
(Berterusan: Proses Kerja, Pengamalan
Nilai, Dokumentasi dan Pembentangan)
Tidak Penjaminan
Kualiti/ Moderasi
Ya
Pengurusan Markah (TP dan Skor)
TAMAT
39

