Page 7 - คู่มือการเคลื่อนย้ายผู้ประสบภัยขั้นต้น
P. 7
- ๓ -
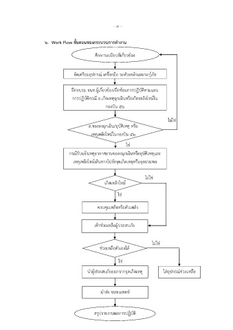
๖. Work Flow ขั้นตอนของกระบวนการทำงาน
ศึกษาระเบียบที่เกี่ยวข้อง
จัดเตรียมอุปกรณ์ เครื่องมือ รถดับเพลิงและรถกู้ภัย
ู้
ฝึกอบรม จนท.ผเกี่ยวข้อง/ฝึกซ้อมการปฏิบัติตามแผน
การปฏิบัติกรณี อ.เกิดเหตุฉุกเฉินหรือเกิดเพลิงไหม้ใน
กองบิน ๕๖
ไม่ใช ่
อ.ของลงฉุกเฉิน/อุบัติเหตุ หรือ
เหตุเพลิงไหม้ในกองบิน ๕๖
ใช่
กรณีรับแจ้งเหตุอากาศยานขอลงฉุกเฉินหรืออุบัติเหตและ
ุ
เหตุเพลิงไหม้เดินทางไปยังจุดเกิดเหตุหรือจุดรวมพล
ไม่ใช ่
เกิดเพลิงไหม้
ใช ่
ควบคุมเพลิงหรือดับเพลิง
เข้าช่วยเหลือผประสบภัย
ู้
ไม่ใช ่
ช่วยเหลือตัวเองได ้
ใช่
ุ
์
นำผู้ประสบภัยออกจากจดเกิดเหต ุ ใส่อุปกรณช่วยเหลือ
นำส่ง จนท.แพทย์
สรุปรายงานผล การปฏิบัติ

