Basic HTML Version
Table of Contents
View Full Version
Page 30 - COE Sektor Pemesinan dan Kontruksi - Teknik Mekatronika
P. 30
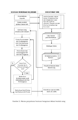
Gambar 2. Skema penyaluran bantuan bangunan dalam bentuk uang
25
26
27
28
29
30
31
32
33
34
35