Page 196 - ACAD на базі НТУ ДП
P. 196

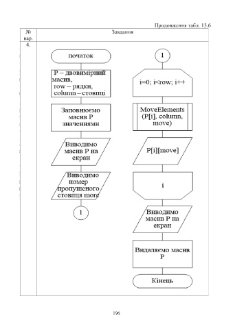
Продовження табл. 13.6
              №                                           Завдання
             вар.
              4.



















































































                                                           196
   191   192   193   194   195   196   197   198   199   200   201