Page 201 - ACAD на базі НТУ ДП
P. 201

Продовження табл. 13.6
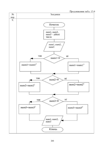
              №                                           Завдання
             вар.
              9.



















































































                                                           201
   196   197   198   199   200   201   202   203   204   205   206