Page 198 - ACAD на базі НТУ ДП
P. 198

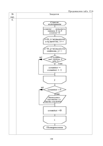
Продовження табл. 13.6
              №                                           Завдання
             вар.
              6.



















































































                                                           198
   193   194   195   196   197   198   199   200   201   202   203