Page 174 - เขียนแบบวิศวกรรม
P. 174

173

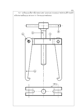
                            13.7  จงเขียนแบบเพื่อการสั่งงานหมายเลข 1,2,3,4 และ 5 ของแบบภาพประกอบที่ก าหนดให้

                         ลงในกระดาษเขียนแบบ A3 ขนาด 1:1 วัดจากแบบภาพประกอบ









                                   5              2                         1           4





















                                                     3
   169   170   171   172   173   174   175   176   177   178   179