Page 176 - เขียนแบบวิศวกรรม
P. 176

175

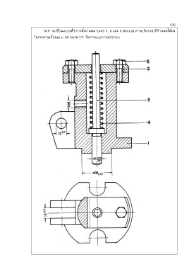
                            13.9  จงเขียนแบบเพื่อการสั่งงานหมายเลข 1, 2 และ 3 ของแบบภาพประกอบที่ก าหนดให้ลง

                         ในกระดาษเขียนแบบ A3 ขนาด 1:1 วัดจากแบบภาพประกอบ
   171   172   173   174   175   176   177   178   179   180   181