Page 103 - เขียนแบบวิศวกรรม
P. 103

103

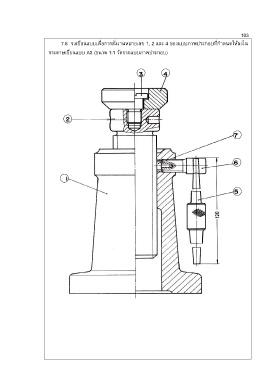
                            7.6  จงเขียนแบบเพื่อการสั่งงานหมายเลข 1, 2 และ 4 ของแบบภาพประกอบที่ก าหนดให้ลงใน

                       กระดาษเขียนแบบ A3 (ขนาด 1:1 วัดจากแบบภาพประกอบ)
   98   99   100   101   102   103   104   105   106   107   108