Page 86 - GIGABYTE Service Manual-v3.0-110101
P. 86

Note: The ICH9 SMBus Controller may stop responding if a SMBus device suddenly

                   stops transmitting in the middle of a packet. This could result in unexpected system
                   behavior, including a system hang.



































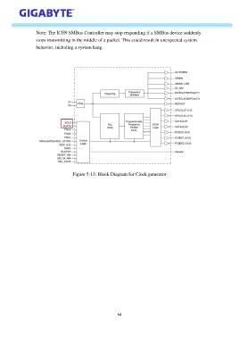
                                     Figure 5-13: Block Diagram for Clock generator










































                                                            64
   81   82   83   84   85   86   87   88   89   90   91